浏览:517更新时间:2023-06-26 15:32:51
如果您想了解我们的产品,可以随时拨打我公司的销售热线或点击下方按钮在线咨询价格!
立即拨打电话享更多优惠:0373-5701114
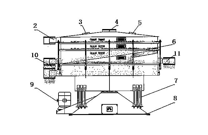
摇摆筛结构是一种常见的筛分设备,主要用于对物料进行分级筛分。其结构特点是在机体内设置了一个摆动筛框,通过摆动筛框的摆动,使物料在筛网上进行分级筛分。
摇摆筛结构通常由机体、摆动筛框、筛网、减震弹簧等部分组成。机体上设置有电机,通过电机带动摆动筛框进行摆动,从而实现对物料的筛分。
摇摆筛结构广泛应用于化工、食品、医药等行业,具有筛分效率高、操作简便、维护方便等优点。
下面将从摇摆筛结构的工作原理、优点、缺点、应用领域等方面进行详细阐述。
摇摆筛结构的工作原理是通过摆动筛框的摆动,使物料在筛网上进行分级筛分。
当电机带动摆动筛框摆动时,物料从进料口进入机体内,随着摆动筛框的摆动,物料在筛网上进行分级筛分。较大颗粒的物料被筛分到上层,较小颗粒的物料则被筛分到下层。
摇摆筛结构的筛分效率高,可以实现多级筛分,适用于对物料进行精细筛分。

摇摆筛结构具有以下优点:
筛分效率高:摇摆筛结构可以实现多级筛分,适用于对物料进行精细筛分。
操作简便:摇摆筛结构的操作简单方便,不需要专业技术人员进行操作。
维护方便:摇摆筛结构的维护方便,易于清洗和更换筛网。
适用范围广:摇摆筛结构适用于化工、食品、医药等行业,可以对不同颗粒大小的物料进行筛分。
摇摆筛结构的缺点主要体现在以下几个方面:
筛分精度受限:摇摆筛结构的筛分精度受到筛网孔径大小的限制,无法对超细粉末进行精细筛分。
噪音较大:摇摆筛结构在工作时会产生一定的噪音,对工作环境造成影响。
易产生堵塞:摇摆筛结构在筛分过程中容易产生堵塞现象,需要定期清理。
能耗较高:摇摆筛结构需要电机带动摆动筛框进行工作,能耗较高。
摇摆筛结构广泛应用于化工、食品、医药等行业,主要用于对物料进行分级筛分。
在化工行业中,摇摆筛结构常用于对粉状物料进行筛分,如颜料、塑料、橡胶等。
在食品行业中,摇摆筛结构常用于对粉状食品进行筛分,如面粉、淀粉、糖粉等。
在医药行业中,摇摆筛结构常用于对药品原料进行筛分,如中药材、西药原料等。
总之,摇摆筛结构在各行各业都有广泛的应用,对提高生产效率和产品质量具有重要意义。